品牌商标如果被别人抢注会有什么后果?最直接的影响就是品牌推广受阻,严重的话,还会导致品牌更名,比如说日本皇后卸妆水Alovivi,就是一个活生生的例子。 日本皇后卸妆水Alovivi是东京芦荟株式会社旗下一款明星卸妆水产品,以温和、平价的优势逐渐替代贝德玛卸妆水,成为网红产品。 
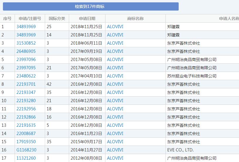
这款皇后卸妆水在日本、乃至国内都颇受欢迎,然而商标却早已被中国商家抢注。 根据中国商标网记录显示,广州明治良品商贸有限公司早在2012年8月就申请了 “ALOVIVI”商标,核准使用在化妆品等第3类商品上,并于2014年成功注册。除此之外,该公司申请了另外两件“ALOVIVI”商标。 
而东京芦荟株式会社最早在我国申请“ALOVIVI”商标是2015年9月,足足晚了3年。 这家广州公司还在淘宝开设了 “ALOVIVI”旗舰店,专门销售Alovivi卸妆水。很多人误以为这就是官方直营店,实际上它并不是。 由于商标已经被注册,东京芦荟株式会社只能将产品名称直接改成“Purevivi”,虽然它也在淘宝开设了旗舰店,但还是有人误会。 值得一提的是,这三件被抢注的“ALOVIVI”商标不是被提出异议,就是被申请无效宣告。 李逵VS李鬼 品牌商标被抢注,很容易导致自己苦心经营的品牌为他人做嫁衣,遇到这种情况,真的很吃亏。 尽管如此,还是有很多企业在这上面栽了跟头,不光是ALOVIVI,就连同样来自日本的MUJI(无印良品)也不例外。 由于第24类“无印良品”商标被海南南华实业贸易公司注册,并转让给北京棉田纺织品,用于旗下品牌“无印良品 Natural Mill”,后来导致真正的MUJI在中国维权失败。 
正品输给山寨,听起来有点可笑。但这就是品牌不注重提前保护商标所带来的后果,别人成功注册了,你后面要注册,就会比较麻烦,所以抢占先机,赢在起跑线,很重要。 如今,国内商标抢注现象严重,无论是国产企业,还是外来品牌,想要在国内发展,就必须要保护好商标,否则就很容易被山寨,要是像ALOVIVI、MUJI这样,被山寨抢了风头,吃亏的是自己。
|